聯系我們
- 電話:
400-104-4024
- 手機:
181-2322-1766
- 東部服務地址:
上海市 金山區 楓涇鎮 環東1路
- 西部服務地址:
四川省 成都市 青羊區 光華東3路
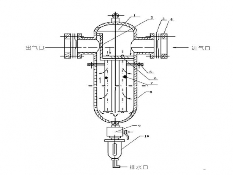
過濾器在空氣壓縮系統中的作用至關重要。它主要負責去除壓縮空氣中的雜質,包括水分、油霧、灰塵等,確保提供清潔、干燥的壓縮空氣。這些雜質如果未經處理,可能會損壞設備、降低效率,并導致生產成本增加和產品質量下降。
過濾器還具有一定的過濾精度和過濾效率,可以根據不同的應用需求進行選擇。精密過濾器可以確保高質量地去除壓縮空氣中的水分、固體顆粒、油和細菌等雜質,為設備的安全、穩定運行提供強有力的保障。
400-104-4024
過濾器的正確選型:
1、分離過濾器(C級)適用于濾除大量液體和3微米大小的凝聚物(1ppm w/w最大殘留油分含量)
2、主管路過濾器(T級)適用于濾除大量液體和1微米大小的凝聚物(0.1ppm w/w最大殘留油分含量)

3、高效除油過濾器(A級)適用于濾除大量液體和0.01微米大小的凝聚物(0.01ppm w/w最大殘留油分含量)
4、超高效除油過濾器(X級)適用于聚結細小的水氣和油霧,可濾除小至0.01微米的凝聚物(0.001ppm w/w最大殘留油分含量)
產品規格:
| 型號 | 處理量 Nm3/min | 外形尺寸 W*H | 桶徑 | 接口管徑 | ||
| DFC/T/A/X/F/H-20 | 20 | 353*950 | 133 | DN65 | ||
| DFC/T/A/X/F/H-25 | 25 | 353*1110 | 133 | DN80 | ||
| DFC/T/A/X/F/H-30 | 30 | 465*1009 | 245 | DN80 | ||
| DFC/T/A/X/F/H-40 | 40 | 465*1159 | 245 | DN100 | ||
| DFC/T/A/X/F/H-50 | 50 | 500*1194 | 273 | DN100 | ||
| DFC/T/A/X/F/H-60 | 60 | 500*1194 | 273 | DN125 | ||
| DFC/T/A/X/F/H-80 | 80 | 565*1290 | 325 | DN125 | ||
| DFC/T/A/X/F/H-100 | 100 | 617*1305 | 377 | DN150 | ||
| DFC/T/A/X/F/H-120 | 120 | 726*1353 | 426 | DN150 | ||
| DFC/T/A/X/F/H-140 | 140 | 735*1360 | 450 | DN200 | ||
| DFC/T/A/X/F/H-160 | 160 | 780*1419 | 500 | DN200 | ||
| DFC/T/A/X/F/H-180 | 180 | 780*1419 | 500 | DN200 | ||
| DFC/T/A/X/F/H-200 | 200 | 800*1560 | 500 | DN200 | ||
| DFC/T/A/X/F/H-260 | 260 | 860*1570 | 560 | DN250 | ||
| DFC/T/A/X/F/H-300 | 320 | 950*1730 | 650 | DN250 | ||
我們的服務:
公司信譽:
我們ORMD歐爾曼德空壓機是一家專注空氣壓縮系統設備生產的廠家,我們的產品覆蓋整個供氣系統。我們擁有現代化的生產和檢測設備為產品的品質提供保證,經驗豐富的技術研發團隊不斷向更優異的性能的產品探索,熱情細心的售后維護團隊及時為我們產品終身服務。ORMD歐爾曼德是良好的廣大用戶群體的口碑為證明,我們的產品以市場需求為導向,以品質為中心的優質商家。ORMD歐爾曼德主要提供無油空壓機、兩級壓縮空壓機、低壓螺桿空壓機,制氮空壓機-制氧空壓機-空壓機生產廠家直銷-后處理設備-開山鑿巖一體空壓機,冷干機,吸干機,過濾器,潤滑油,冷卻器,油水分離器,滅菌過濾器,純化器,后冷卻器,儲氣罐,出油過濾器,干燥機,等供氣系統產品及空壓機售后現場安裝和現場維護。
聯系電話
400電話
微信掃一掃